,以下是基于“如何在TP钱包添加LUNA”这一主题撰写的1200字左右的文章,结构符合你要求的格式:---如何在TP钱包添加LUNA:详细教程与操作指南随着区块链技术的快速发展,各种去中心化金融...
!根据您提供的信息,您是希望我根据Tp钱包代码502的错误来改编一篇1200字左右的文章。由于我不了解具体的“Tp钱包代码502”错误的详细背景和上下文,假设您是指“502 Bad Gatewa...
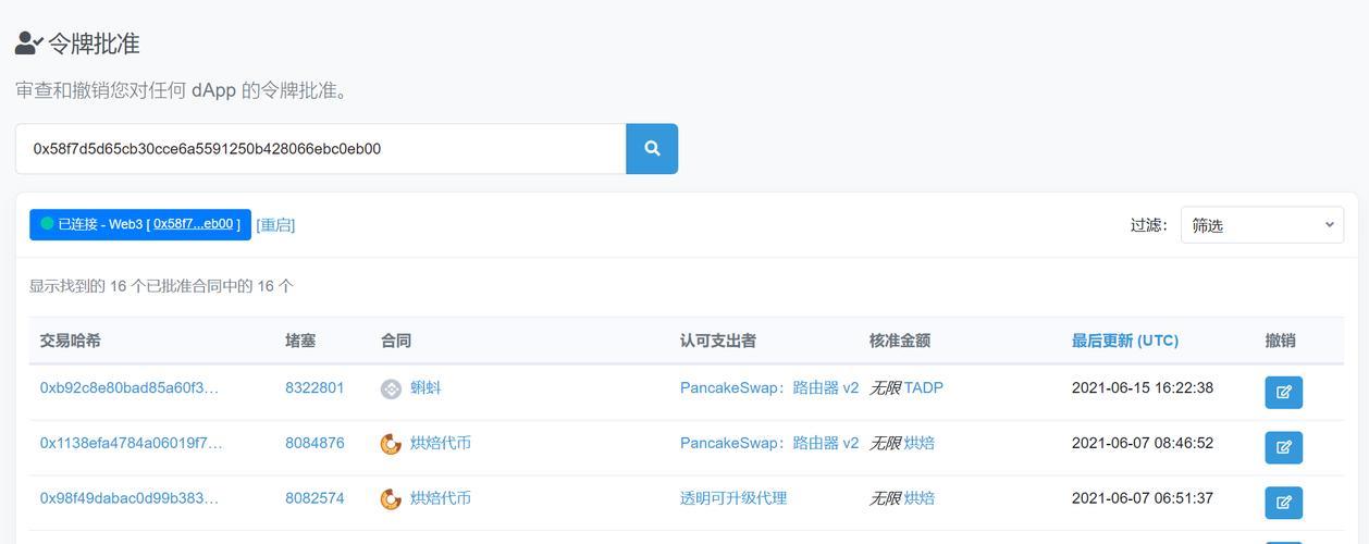
,以下是基于“TP钱包授权资产被盗”的话题所写的一篇1200字左右的文章:---TP钱包授权资产被盗事件概述近年来,随着区块链技术的飞速发展,数字资产的交易和管理变得更加方便,但随之而来的是越来...










